Only Admins can see this message.
Data Transition still in progress. Some functionality may be limited until the process is complete.
Processing Attachment, Gallery - 214.64718%

"Kicker" bass drum pedal board

Loading...

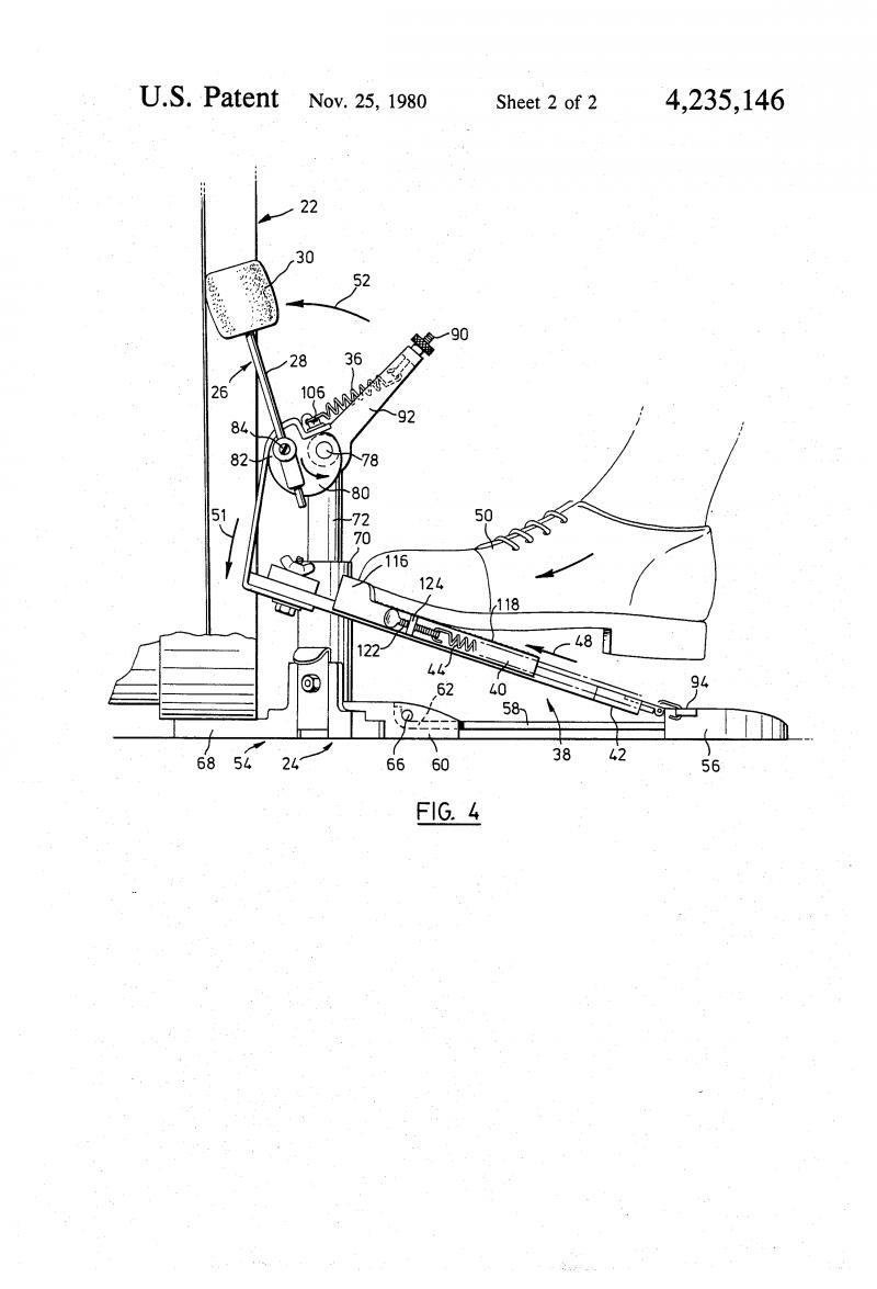
Hello, I bought a interesting bass drum pedal "add-on" from eBay and wondered if anyone has any experience playing it and what kind of pedal they used. It appears to me to be patented by James R. Purdy as a "Bass Drum Pedal Assembly", U.S. patent number 4,235,146, dated November 25, 1980. It replaces your pedal's original foot board, attaches the strap to a sliding connection in a vertical slot on the footboard, and is then played with a normal up and down motion plus the capability to slide your foot forward. I have not yet figured out a pedal base to attach it to, so I have no idea how well it works. The good news is that it was reasonably priced. This is the kind of thing that keeps me off the streets and supports the Mom and Pop music stores, so it has some redeeming value. Thanks for any information, and sorry for the long winded posting. Joe Cochran Help2

Posted on 7 years ago
#1
Loading...

I guess it was meant to be a compliment to the tension systems of whatever pedals were available at the time. I wonder how well that worked.

Zach

Currently looking for a 3-ply 24x14 Ludwig in champagne sparkle w/rail consolette and cymbal mount!
Posted on 7 years ago
#2
Posts: 1974 Threads: 249
Loading...

Love it... anytime I’m in a small town and see a music storebI go spend a little money on something in there. :).

I can’t picture what advantages or differences it provides... as in I don’t fully understand the mechanism. I did some googling but of course searching kicker and bass drum, no matter what else you add, brings many, many unrelated results. I hope you figure it out and post a picture; I am curious now!

Not a Guru... just interested..
Posted on 7 years ago
#3
Posts: 1974 Threads: 249
Loading...

Here’s a patent diagram... and some light reading on it. :) http://www.google.com/patents/US4235146

Not a Guru... just interested..
Posted on 7 years ago
#4
Posts: 1974 Threads: 249
Loading...

You know your version looks different than the one he patented... interesting.

Not a Guru... just interested..
Posted on 7 years ago
#5
Loading...

Zach and Jim, Thanks so much for your replies. Yes, the patent illustrations look a little different from the actual pedal board. There are three illustrations in the patent if I remember correctly. The label at the heel says it was also patent applied for in Canada and the inventor is listed as a Canadian so I think it is the same person. I will have to find something to hook it to so I can see how (if?) it works. I saw some current Vruk brand products that are a similar modern concept. They attach to the top of the footboard and let you play these very fast bass drum beats but I don't think they were meant for sliding action. There was a rubber flapping piece at the toe end. I am an old **** and should never try to play fast bass drum notes, it would just be embarrassing... Thanks again, Joe

Posted on 7 years ago
#6
Loading...

Almost looks like one of these.

Trivia Time:

Anyone know what the "official" name for such a contraption is? (Cleverly blacked out in the photo-that would be too easy)!

1 attachment
28.6 kB
Posted on 7 years ago
#7
Posts: 1974 Threads: 249
Loading...

Funny Post. .... Brannock device... thanks Epstein’s shoe store. :)

Not a Guru... just interested..
Posted on 7 years ago
#8
Loading...

Wow, it never occurred to me that we might cross over from bass drum pedal accumulation to alarmingly close to foot fetishism. That might be more socially acceptable than obsessing about drum gear...

Posted on 7 years ago
#9
  • Share
  • Report
Action Another action Something else here